盟固利今日再次涨停 一机构专用席位净卖出超4000万元
更新时间:2023-08-18 08:26:59 •阅读 0
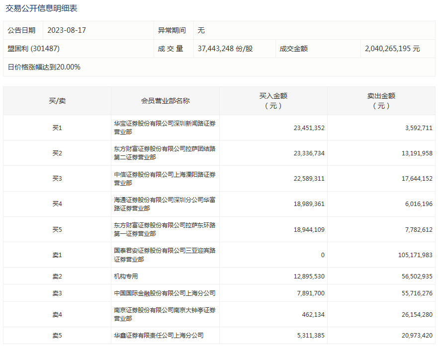
8月17日,盟固利涨停,股价报61.08元,成交额20.40亿元,换手率68.76%。该股已连续两个交易日涨停。

盘后龙虎榜数据显示,一机构专用席位净卖出4360.74万元。

据公开资料显示,盟固利的主营业务为锂电池正极材料的研发、生产和销售。
财务方面,2023年1-3月,公司实现营业收入61,099.83万元,同比下降37.53%;公司扣除非经常性损益后归属于母公司股东的净利润为1,339.21万元,同比下降36.48%。
帮企客致力于为您提供最新最全的财经资讯,想了解更多行业动态,欢迎关注本站。